โปรดอัพเดตเบราว์เซอร์

เบราว์เซอร์ที่คุณใช้เป็นเวอร์ชันเก่าซึ่งไม่สามารถใช้บริการของเราได้ เราขอแนะนำให้อัพเดตเบราว์เซอร์เพื่อการใช้งานที่ดีที่สุด

ยานยนต์

KTM เตรียมเปิดตัวเทคโนโลยีเรดาร์สุดล้ำ สำหรับมอเตอร์ไซค์ในรุ่นปี 2025

Car2day

อัพเดต 05 ต.ค. 2567 เวลา 19.12 น. • เผยแพร่ 06 ต.ค. 2567 เวลา 05.00 น. • Car2Day

KTM ร่วมมือกับ Bosch ผู้เชี่ยวชาญด้านอิเล็กทรอนิกส์ทั้งหมดในโลกยานยนต์ โดยมีแผนเปิดตัวฟีเจอร์สำหรับรุ่นปีถัดไปในมอเตอร์ไซค์รุ่นใหม่ของแบรนด์

สำหรับการ่วมมือระหว่าง KTM และ Bosch ในครั้งนี้เป็นหนึ่งในแผนใหญ่ในการพัฒนารถจักรยานยนต์ในปี 2025 ของค่ายรถจักรยานยนต์สัญชาติออสเตรีย ซึ่งถูกนำเสนอพร้อมกับฟีเจอร์สำคัญๆ มากมายด้วยเทคโนโลยีอัจฉริยะที่ล้ำสมัยและยอดเยี่ยมที่สุด

Bosch ได้พัฒนาฟังก์ชันช่วยเหลือผู้ขับขี่ใหม่รวม 6 ฟังก์ชันโดย 4 ใน 6 ฟังก์ชันนี้จะเปิดตัว “ในรุ่นใหม่จากผู้ผลิตมอเตอร์ไซค์ชั้นนำของยุโรปอย่าง เคทีเอ็ม ในเดือนพฤศจิกายน 2024 ซึ่งมีกำหนดเริ่มผลิตในปี 2025

KTM

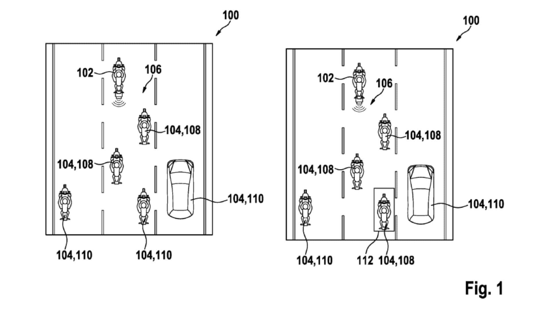
โดยระบบช่วยเหลือผู้ขับขี่ทั้งสี่ระบบนี้จะอาศัยระบบเรดาร์ที่ติดตั้งไว้ด้านหน้า และได้รับการออกแบบมาเพื่อเพิ่มความปลอดภัยและให้การสนับสนุนผู้ขับขี่เพิ่มเติมในการขับขี่บนถนน อย่าง ACC S&G หรือ Adaptive Cruise Control – Stop and Go นับว่าเป็นการก้าวข้ามระบบควบคุมความเร็วอัตโนมัติแบบปรับได้ทั่วไปในแง่ที่ว่ามันทำงานร่วมกับระบบส่งกำลัง และเบรกของรถจักรยานยนต์ ทำให้หยุดสนิทเมื่อจำเป็น แต่ในความเป็นจริงระบบเหล่านี้จำนวนมากติดตั้งมาเป็นมาตรฐานในรถยนต์ส่วนใหญ่แล้ว แต่สำหรับทางฝั่งรถจักรยานยนต์นั้นมีเพียงแค่บางรุ่นเท่านั้น

นอกจากนี้ยังมี Group Ride Assist (GRA) โดยฟีเจอร์นี้จะใช้ระบบเรดาร์ที่ติดตั้งไว้ด้านหน้าของรถจักรยานยนต์เพื่อตรวจจับว่ารถจักรยานยนต์กำลังขี่อยู่ในกลุ่ม จากนั้นระบบจะปรับความเร็วโดยอัตโนมัติเพื่อให้ตรงกับความเร็วของกลุ่มอีกด้วย

KTM

ถัดมาระบบที่สาม เรียกว่า RDA หรือ Riding Distance Assist ซึ่งแท้จริงแล้วเป็นความเกี่ยวเนื่องของ ระบบ Adaptive Cruise Control โดยเรดาร์จะตรวจจับว่าการจราจรเคลื่อนตัวได้ราบรื่นหรือไม่ และช่วยให้คุณรักษาระยะห่างที่ปลอดภัยจากรถคันข้างหน้าได้ ซึ่งทางแบรนด์ได้กล่าวว่าระบบนี้ฉลาดกว่าระบบ ACC เพราะคุณไม่จำเป็นต้องตั้งค่าความเร็วล่วงหน้าเพื่อให้ระบบทำงาน ระบบจะเปิดโดยอัตโนมัติ สุดท้าย EBA หรือระบบช่วยเบรกฉุกเฉิน เป็นสิ่งที่อาจมีประโยชน์ ระบบนี้จะทำงานโดยเรดาร์ที่ติดตั้งเพื่อตรวจจับสิ่งกีดขวาง และเบรกโดยอัตโนมัติเพื่อหยุดรถให้เร็วที่สุด

สำหรับสองระบบที่เหลือ ต้องผสานรวมเรดาร์ด้านหลัง ซึ่งดูเหมือนว่า KTM จะไม่มีแผนที่จะนำมาใช้ในรุ่นปี 2025 อย่างไรก็ตาม ทั้งสองระบบนี้ได้รับการพัฒนาโดย Bosch สำหรับการใช้งานบนมอเตอร์ไซค์ ซึ่งระบบแรกคือ RDW หรือ Rear Distance Warning ซึ่งเป็นระบบจะแจ้งเตือนคุณเมื่อมีใครบางคนหรือบางสิ่งบางอย่างกำลังขับเข้ามาใกล้คุณมากเกินไป และ ระบบ RCW หรือ Rear Collision Warning ซึ่งทำงานคล้ายลักษณะเดียวกัน

KTM

สุดท้ายนี้ ระบบเทคโนโลยีเรดาร์สุดล้ำทาง KTM จะนำใส่มาให้รุ่นไหนบ้างสำหรับมอเตอร์ไซค์ใหม่ในปี 2025 คงต้องติดตามอัปเดทกันอีกครั้ง แต่เชื่อเลยว่าจะเป็นการพัฒนาเทคโนโลยีอัจฉริยะที่ล้ำสมัยและยอดเยี่ยมที่สุดของแบรนด์

ติดตามข่าวสารยานยนต์ : car2day.com
Page Facebook :Car2Day
Youtube : youtube.com/@Car2day

ดูข่าวต้นฉบับ
Loading...
Loading...
Loading...
Loading...
Loading...
Loading...
Loading...
Loading...
Loading...
Loading...
Loading...
Loading...
Loading...
Loading...
Loading...
Loading...
Loading...
Loading...
Loading...
Loading...
Loading...
Loading...
Loading...
Loading...
Loading...
Loading...
Loading...
Loading...
Loading...
Loading...
Loading...
Loading...
Loading...
Loading...
Loading...
Loading...
Loading...
Loading...